球形补偿器
江苏华电
注填式球形补偿器(HDZQ)
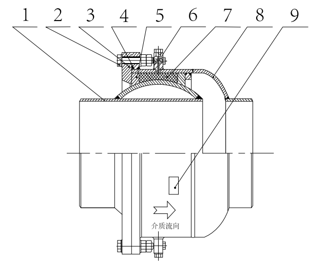
一、结构简图
1.球体部件 2.紧固件 3.填料法兰 4.外套管 5.密封垫块 6.加注装置 7.密封填料 8.封头部件 9.铭牌
二、产品型号示例
例1:公称直径DN=700mm,公称压力PN=2.5MPa,最高工作温度≤350℃,最大折曲角θmax≤15℃,连接形式为法兰连接(不注为直接焊接)的注填式球型补偿器的标记为:HDZQF25/500-±15℃-F
例2:公称直径DN=300mm,公称压力PN=1.6MPa,最高工作温度≤300℃,最大折曲角θmax≤8℃,连接形式为直接焊接的注填式球型补偿器的标记为:HDZQ16/300-±8°
三、结构特性
注填式球形补偿器具有以下特点:
1.密封性能更好:以碳纤维为主体的抗拉力盘根为第一道密封,再采用可加注柔性填料对成型密封填料(盘根)产生加紧力,在两道密封圈中间以高压注入柔性填料,使它们分别向两边压紧,此时盘根在轴向被压缩的同时产生径向力,使盘根与球体紧密接触,同时盘根中的润滑油被挤出,在接触面形成油膜,构成第二道密封防线,且摩擦系数更小。
2.结构更安全:采用整体焊接结构,所有运动部件完全包容。
3.球形补偿器(又称球形接头),主要依靠球体的角位移来吸收或补偿管道一个或多个方向上的横向位移,该补偿器应成对使用,单只球形补偿器没有补偿能力,可作管道万向接头使用。该补偿器具有补偿量大,无盲板力,对固定管架的作用力小。
4.维护更方便:在产品运行过程中,万一发生渗漏可及时往加注管内加注注填式柔性密封填料,使产品性能恢复如初。
四、技术参数 (球形补偿器 设计压力:1.0,1.6,2.5,4.0Mpa)
注:法兰连接按用户要求供货。
注填式球形补偿器(HDZQ)
一、结构简图
1.球体部件 2.紧固件 3.填料法兰 4.外套管 5.密封垫块 6.加注装置 7.密封填料 8.封头部件 9.铭牌
二、产品型号示例
例1:公称直径DN=700mm,公称压力PN=2.5MPa,最高工作温度≤350℃,最大折曲角θmax≤15℃,连接形式为法兰连接(不注为直接焊接)的注填式球型补偿器的标记为:HDZQF25/500-±15℃-F
例2:公称直径DN=300mm,公称压力PN=1.6MPa,最高工作温度≤300℃,最大折曲角θmax≤8℃,连接形式为直接焊接的注填式球型补偿器的标记为:HDZQ16/300-±8°
三、结构特性
注填式球形补偿器具有以下特点:
1.密封性能更好:以碳纤维为主体的抗拉力盘根为第一道密封,再采用可加注柔性填料对成型密封填料(盘根)产生加紧力,在两道密封圈中间以高压注入柔性填料,使它们分别向两边压紧,此时盘根在轴向被压缩的同时产生径向力,使盘根与球体紧密接触,同时盘根中的润滑油被挤出,在接触面形成油膜,构成第二道密封防线,且摩擦系数更小。
2.结构更安全:采用整体焊接结构,所有运动部件完全包容。
3.球形补偿器(又称球形接头),主要依靠球体的角位移来吸收或补偿管道一个或多个方向上的横向位移,该补偿器应成对使用,单只球形补偿器没有补偿能力,可作管道万向接头使用。该补偿器具有补偿量大,无盲板力,对固定管架的作用力小。
4.维护更方便:在产品运行过程中,万一发生渗漏可及时往加注管内加注注填式柔性密封填料,使产品性能恢复如初。
四、技术参数 (球形补偿器 设计压力:1.0,1.6,2.5,4.0Mpa)
注:法兰连接按用户要求供货。