球形补偿器
江苏华电
万向球形补偿器
一、球形补偿器具有以下特点:
1.密封性能更好:以碳纤维为主体的抗拉力盘根为第一道密封,再采用可加注柔性填料对成型密封填料(盘根)产生加紧力,在两道密封圈中间以高压注入柔性填料,使它们分别向两边压紧,此时盘根在轴向被压缩的同时产生径向力,使盘根与球体紧密接触,同时盘根中的润滑油被挤出,在接触面形成油膜,构成第二道密封防线,且摩擦系数更小。
2.结构更安全:采用整体焊接结构,所有运动部件完全包容。
3.球形补偿器(又称球形接头),主要依靠球体的角位移来吸收或补偿管道一个或多个方向上的横向位移,该补偿器应成对使用,单只球形补偿器没有补偿能力,可作管道万向接头使用。该补偿器具有补偿量大,无盲板力,对固定管架的作用力小。
4.维护更方便:在产品运行过程中,万一发生渗漏可及时往加注管内加注注填式柔性密封填料,使产品性能回复如初。
二、工作原理及布置形式:
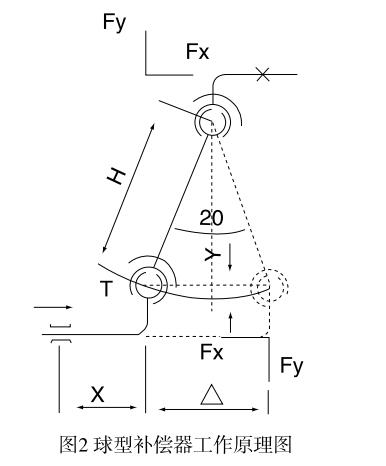
球型补偿器,安装在管道的拐弯处,利用球头的转动达到补偿的目的。工作原理如图2所示,图中实线为安装位置,当受热运行时,直管段的管道伸长量为△L,推动注球补转动到虚线位置,其中△L与θ、H的关系由下面各等式列出:
直管段管道伸长量△L=0.0126T×L…………(1)
式中:L——直线管段管道的长度(m)
T——介质温度℃(计算时一般不考虑温降,直接取介质进口温度)
0.0126——管道热膨胀系数mm/m℃
万向球形补偿器
一、球形补偿器具有以下特点:
1.密封性能更好:以碳纤维为主体的抗拉力盘根为第一道密封,再采用可加注柔性填料对成型密封填料(盘根)产生加紧力,在两道密封圈中间以高压注入柔性填料,使它们分别向两边压紧,此时盘根在轴向被压缩的同时产生径向力,使盘根与球体紧密接触,同时盘根中的润滑油被挤出,在接触面形成油膜,构成第二道密封防线,且摩擦系数更小。
2.结构更安全:采用整体焊接结构,所有运动部件完全包容。
3.球形补偿器(又称球形接头),主要依靠球体的角位移来吸收或补偿管道一个或多个方向上的横向位移,该补偿器应成对使用,单只球形补偿器没有补偿能力,可作管道万向接头使用。该补偿器具有补偿量大,无盲板力,对固定管架的作用力小。
4.维护更方便:在产品运行过程中,万一发生渗漏可及时往加注管内加注注填式柔性密封填料,使产品性能回复如初。
二、工作原理及布置形式:
球型补偿器,安装在管道的拐弯处,利用球头的转动达到补偿的目的。工作原理如图2所示,图中实线为安装位置,当受热运行时,直管段的管道伸长量为△L,推动注球补转动到虚线位置,其中△L与θ、H的关系由下面各等式列出:
直管段管道伸长量△L=0.0126T×L…………(1)
式中:L——直线管段管道的长度(m)
T——介质温度℃(计算时一般不考虑温降,直接取介质进口温度)
0.0126——管道热膨胀系数mm/m℃